前言
最近准备入手一台海外的 vps,在网上了解了一下,一些人在推 claw cloud 的机器,总体评测还不错
考虑到国内的延时,然后就入手了一台香港的 claw vps,使用官方的优惠码,2C4G 的机器年付花了 48 刀,人民币 346,汇率 7.22

结果给踩坑里去了,延时实在是太高了,考虑退款的,还得扣 10% 的手续费,什么事都没干就抽 10%,先留着吧,后面再看怎么利用起来
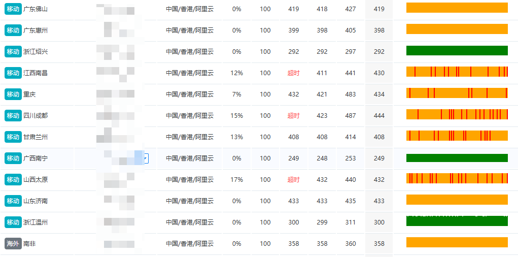
itdog ping测试如下,全部是橙黄色的,延时都在 300 以上,这是在早上低峰期 ping 的,网上高峰期 ping 的话接近 500

使用 opentrace 测试节点线路,发现是绕美国去了,然后再打道回日本,最后到达香港

延时都不是最大的问题,最大的问题是掉包严重,部分地区访问掉包率超过了 10%,网上高峰期掉包更加严重

问题原因
那么这么近为什么不直接走,而是非得绕一圈?300 到 500 的延时,终端敲命令都是一卡一卡的,看看 gpt 的回复

处理方式
如果需要提速只能中转了,有一些组织或者个人可以提供中转服务,将速度提升到 100 以内
如果自己手头有耗时低的海外节点,也可以用来进行流量中转,刚好手头也有其他服务商的海外节点,国内到节点的耗时在 50ms 以内
那么可以通过 nginx 等一些方式将流量进行中转,中转节点到 claw 主机的 ping 延时在 5 ms 以内,那么总耗时就可以控制在 50 ms 左右
但是这样会有一个问题,中转节点的流量不能过大避免超额,另外不排除这样的中转方式有可能会被其他服务商拉清单

购买建议
1、不支持新购短期内全额退款的尽量不要买,不敢承诺全额退款的肯定有猫腻
2、不要太过相信网上的一些测评,基本上都是拿钱了的
3、看别人的测评,得仔细看后面别人的评论